stompbox

プログラマブルスイッチャーの自作#21 電源確定

+12V,-12Vに関してはリップル除去率が最大になるところが入出力電圧差が2V近辺なので+14V,-14Vを設定出力電圧値としICを探す。 Product Number BENDER V_OUT [V] I_OUT(MAX) [A] V_IN [V] Inductor Switching Frequency[kHz] Switching Frequency PRICE MAX …

プログラマブルスイッチャーの自作#20 -12V電源

一つ前の記事で-12VのLDOはLT3094に決定した。 LT3094の前段のスイッチングレギュレーターICの選定をする。 LT3904の特性2 グラフから読み解くと 入出力の電圧差が2V辺りが最大のリップル除去。 スイッチング周波数を1kHz以下にするか、1MHzから2MHzの間に…

プログラマブルスイッチャーの自作#19 LDO IC選定

LDO ICの選定。今回作るスイッチャーのみならず別件で製作中のEURORACK収納のセミモジュラーシンセ用の電源モジュールも併用する。なので 型番 VENDOR 最大出力電圧[V] 最大出力電流[mA] PSRR (1.3V ≤ VOUT ≤ 15V) [dB] Integrated RMS Output Noise (10Hz t…

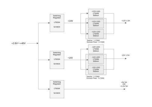
プログラマブルスイッチャーの自作#18 電源系統図

ランキング参加中ハンドメイド ランキング参加中音楽 2024年発の投稿。かなりサボってしまった。肝はおそらく現代社会において最も格安で入手出来ると思われるUSB-PD対応のスマホのチャージャーを使う。 電源系統図

プログラマブルスイッチャーの自作 番外編 開発環境の整備

Quartus PrimeでCPLDの設計を不便なく行えるようにPC環境を考える。 現在使っているPCは3台。 intel NUC, Windows10 UMPC 8inch, Windows11 Chromebook, 14inch位 使っている、及び使いたいアプリが以下の表。 アプリ名 カテゴリー 提供元 プラットフォーム…

プログラマブルスイッチャーの自作#17 制御部検証2 CPLDの検証

前回の記事では1位Lattice, 2位Altera(intel)だったが逆転。下記リンク先のAltera(intel)のMAX Vシリーズが魅力的。 www.intel.co.jp 何が魅力的か! オシレータが入っている。水晶発振器とか別途購入しなくて済む。 ユーザー・フラッシュ・メモリーが8kb有…

プログラマブルスイッチャーの自作#16 制御部検証1(CPLDの比較)

プリセットデータを参照し、 ①LEDでバカな俺にも判る様に表示する。 ②De-Multiplexer/Multiplexerに設定データを送る。 と、それ程複雑では無いが自作機器としては十分複雑な処理をしなくてはならない。 デジタル回路となる。音の信号は一切デジタル化されな…

プログラマブルスイッチャーの自作#15 表示を考える3

やはり前回のRGBフルカラーLEDを使っての表示は無理がある。 前々回の7seg LEDを使った方が現実的に思う。前々回の案より少し進展。 表示案 表示案 表示案

プログラマブルスイッチャーの自作#14 表示を考える2

表示方法案その2 3色発光するLEDを使う。 3色(RGB) LED このLEDを縦に11個、横に6個配列。 表示案2-1 表示案2-2 一応表現できている。点灯するLEDの数も全回の物より少ない。部品点数も少ない。 少なくとも前回のよりは現実的だと思う。判り難い感じはある。…

プログラマブルスイッチャーの自作#13 表示を考える1

プリセットデータを間違える事なく作る、演奏中の現在の状態の認識、等など表示機能は重要。 今のところ、こんなのしか思いつかん。これは判り易いけど部品の無駄使いだと思う。 もう少し良い方法は無いかね。 表示案 表示案

プログラマブルスイッチャーの自作#12 また仕様変更

前回のLOOP7要らないのでは?ってところが自分の中で肥大。 オートパン的なエフェクター繋げ内蔵DIでPAに直出しな使い方を想定。 システム図 改定版

プログラマブルスイッチャーの自作#11 仕様確認2

実際に使いそうな配列のパターンが成立するのか検証しようと思ったが配線が細かく画面見ていると気持ち悪くなってしまうので1パターンのみ確認。 接続パターン1 上の配線を実現するために内部的に配線が確保出来ていることを確認。信号の経路を赤色にしてあ…

プログラマブルスイッチャーの自作#10 仕様確認1

今迄に書いたブロック図も良く見返すと間違え有ったり仕様変更したりなので新たに書き直す。 システム図

プログラマブルスイッチャーの自作#9 プリセットデータをどうするか2

前回の続き。 プリセットパネル案1 このプリセットパネルであれば最大の自由度を確保出来るのだが、コストが掛かり過ぎる。2.5mmのphoneジャックが一つ300円としてプリセットパネル一つ当たり15個も使ってしまい、パネル1つ当たり4500円。パネルが8枚なので3…

プログラマブルスイッチャーの自作#8 プリセットデータをどうするか?

ここが最大の市販品と違う所になると思う。 そもそもプリセットデータは何種類持てる様にするべきか? 多いに越したことは無いは判る。しかし演奏中に瞬時に切り替えれることがこの機材の存在理由である。使用者が膨大なプリセットデータの中から瞬時に欲し…

プログラマブルスイッチャーの自作#7 多分最終仕様確定

まだまだ細かいところは不明だが、多分これで良いのでは?と思ってる。 LOOP6

プログラマブルスイッチャーの自作#6 STEREO OUT難しい

1INPUT 2OUTPUTで順序も自由に決められる様になるのか一日考えた。 紫色のブロックPORT1-PORT15にはLOOP1-LOOP5のエフェクターを自由に割付できる。勿論同じエフェクターの2度使いは厳禁。PORTは15個も有るのに割付出来る物が5個しか無いから10個のPORTはバ…

プログラマブルスイッチャーの自作#5 また仕様変更

やはり、こんなもの作ってもイマイチ面白く無いと思えてきた。 0〜5個位のエフェクターのON/OFFと順序しかコントロール出来ない。 これはこれで有用では有るのだが、1INPUT2OUTPUTのエフェクターをコントロールできない。それに市販品買うのと変わらない気が…

プログラマブルスイッチャーの自作#4 DeMultiplexer ICの選定

1:8 Multiplexer/DeMultiplexer ICの選択 既に決めてある仕様は 1. 電源は+/-12V Multiplexer/DeMultiplexer ICの前後にバッファを設けているが、バッファは増幅度1の非反転増幅器。片電源で動かすとどうしてもバイアスを与えるためコンデンサーが必要になっ…

プログラマブルスイッチャーの自作#3

前回までLoopポートは4つで考えていたのだけど初段と最終段のDeMultiplexerは全Loopポート+1となる。1:5のMultiplexer/DeMultiplexer ICなんて都合の良い物は存在しないので1:8のMultiplexer/DeMultiplexer ICを選ぶことになる。なのでイキナリ設計変更。1:8…

プログラマブルスイッチャーの自作#2

プログラマブルスイッチャーの自作#2 設計中のプログラマブルスイッチャーのブロック図。 プログラマブルスイッチャーのブロック図 まだ無駄が多い気がする。もう少し考え直さないとダメだな。図中の4:1 Multiplwxerは冗長な気がする。多分不要。でも部品決…

プログラマブルスイッチャーの自作 #1

プログラマブルスイッチャーの自作#1 ギター弾き。現在2バンド平行して活動中。ライブは月に2-3本ほど。同時に2つ以上のエフェクターのON-OFFを切り替えたい。一層のこと、接続順序も切り替えれたら面白そうだ。今使っているFUZZ、低音域を鳴らしている分…